QQ登录

只需一步,快速开始

用微信登录

扫一扫,用微信登录

手机号码,快捷登录

楼主: jethro

关于叶片整体一次成型的讨论

[复制链接]
发表于 2010-5-16 13:24:18 | 显示全部楼层

回 18楼(ktking) 的帖子

期待老兄多分享啊1
回复 支持 反对

使用道具 举报

发表于 2010-5-17 10:55:32 | 显示全部楼层
11.jpg
回复 支持 反对

使用道具 举报

发表于 2010-5-17 11:47:08 | 显示全部楼层
好东西啊
回复 支持 反对

使用道具 举报

发表于 2010-5-17 11:47:58 | 显示全部楼层
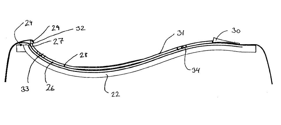
这张相片跟上一张相片不一样跟,好象有梁帽,是不是一面有梁帽一面没有呢?
回复 支持 反对

使用道具 举报

发表于 2010-5-19 06:33:19 | 显示全部楼层
灌出来真是漂亮啊
回复 支持 反对

使用道具 举报

发表于 2010-5-19 07:43:35 | 显示全部楼层
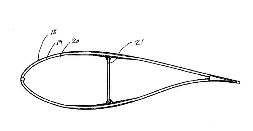
持续上传工艺原理简图,部分省略
1.jpg
回复 支持 反对

使用道具 举报

发表于 2010-5-19 18:05:22 | 显示全部楼层
QQ截图未命名.jpg
回复 支持 反对

使用道具 举报

发表于 2010-5-19 18:07:11 | 显示全部楼层
QQ截图未命名.jpg
回复 支持 反对

使用道具 举报

发表于 2010-5-19 21:14:51 | 显示全部楼层
呵呵,专利图上全,请高手翻译一下吧。

西门子专利.rar

551 KB, 下载次数: 116

回复 支持 反对

使用道具 举报

发表于 2010-5-19 21:18:15 | 显示全部楼层
引用第27楼sino于2010-05-19 09:14 PM发表的  :
呵呵,专利图上全,请高手翻译一下吧。
  

这是西门子购买的bonus专利,01年注册。国内南京一所高校也做相关的实验,并申请了专利,原理是差不多的。
我这希望那位高手有时间将文本翻译一下,参考参考。
回复 支持 反对

使用道具 举报

您需要登录后才可以回帖 登录 | 立即注册   扫一扫,用微信登录

本版积分规则

QQ|玻璃钢复合材料商城|联系我们|Archiver|手机版|小黑屋| FRP玻璃钢复合材料论坛 蜀ICP备10204395号-1

GMT+8, 2026-1-27 17:00 , Processed in 1.147314 second(s), 20 queries .

© 2015-2016

快速回复 返回顶部 返回列表